Serendipity Labs, a flexible workspace operator based in Rye, N.Y., is planting a flag in Los...
BUILT WORLD INNOVATION HEADLINES
News to Read Today
Curated daily by our industry experts. Stay informed on how tech is shaping the real estate industry with these important headlines and original articles by CREtech and our partners.
Ryder System Inc. R -1.94% is developing an Airbnb-like marketplace for transportation assets...
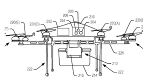
A new patent envisions Amazon delivery drones that respond to human gestures and voice commands.
Leading real estate tech VC and the U.S.’s largest home builder consummate strategic deal with...
Last year, Ben Fried pitched a fintech startup to Israeli investors -- and got nowhere. The venture...
Investment bolsters JLL’s position as a catalyst for change in the real estate industry
Software robots are having a big impact on the way employees work. These bots, which do not have a...
You have heard what we have to say about the benefits of RealNex, but what do some of our clients...
Resistance to change in the real estate industry is fading away as new technologies become...
Commercial real estate professionals need to shake off the idea of "office" and start considering...